주차 위반은 모든 운전자가 경험할 수 있는 흔한 사건입니다. 이에 대한 이해와 그로 인한 벌금, 즉 과태료에 대해 알아보고, 과태료 조회 방법까지 함께 알아보겠습니다.

주차 위반과 과태료의 정의
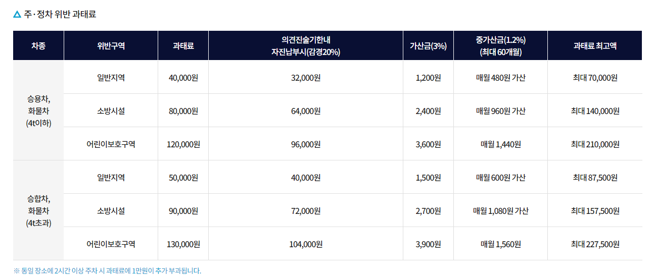
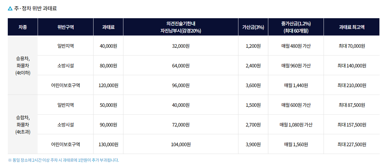
주차 위반은 주차가 금지된 장소에서 차량을 주차하는 행위를 말하며, 이로 인해 발생하는 과태료는 주차 위반을 한 차주에게 부과되는 금액입니다. 이 과태료의 액수는 주차 위반의 종류와 장소에 따라 달라집니다.
일반적으로 승용차의 경우, 일반 지역에서 주차 위반을 할 경우 4만 원의 과태료가 부과되며, 만약 동일한 장소에서 2시간 이상 불법 주차를 한다면 5만 원까지 과태료가 부과될 수 있습니다.



주차 위반 과태료 조회 방법
주차 위반 과태료는 행정안전부의 스마트 위택스 앱 또는 경찰청 교통민원24시(이파인)를 통해 조회할 수 있습니다. 이 두 앱은 과태료 및 범칙금을 조회하고 납부할 수 있는 서비스를 제공하며, 특히 스마트 위택스 앱은 지방세 및 세외수입의 조회/납부 서비스도 함께 제공합니다.
주차 위반과 과태료에 대한 유의 사항
불법 주정차 6대 금지구역에서는 일반 구역보다 더 많은 과태료가 부과됩니다. 가장 높은 과태료가 부과되는 곳은 어린이 보호구역으로, 이곳에서 불법 주정차로 적발될 경우 승용차 기준으로 12만 원의 과태료가 부과됩니다.
또한, 불법 주정차는 단속 인원에 의해 적발될 수 있다는 것을 기억해야 합니다. 안전신문고 앱을 통해 국민 누구나 신고할 수 있으므로, 주차 시 주의를 기울여야 합니다.

주차 위반을 피하는 방법과 과태료 납부
불가피한 사정에 의해 주차를 해야 할 상황이 발생한다면, 어떤 지역이 주차 가능한 지역인지 확인하고 주차해야 합니다. 흰색 점선 혹은 실선 표시가 있는 곳은 주차가 가능한 구역이라는 의미입니다. 반면에 노란색 선 표시는 주의를 필요로 합니다. 노란색 점선은 주차가 금지되고 정차만 가능한 구역을 의미하며, 노란색 실선은 주정차가 모두 금지된 구역을 의미합니다.
만약 주차 위반으로 과태료 처분을 받았다면, 이견이 없는 경우 빠르게 납부하는 것이 좋습니다. 주차 위반 과태료를 자진 납부하면 20%의 감경 혜택을 받을 수 있습니다.


마치며
주차 위반에 대한 이해와 과태료, 그리고 그 조회 방법에 대해 알아보았습니다. 주차는 운전의 일부로서 매우 중요한 부분이므로, 항상 주의 깊게 주차하고, 불가피하게 주차 위반 과태료가 부과될 경우에는 빠르게 처리하는 것이 중요합니다.
'9.생활정보' 카테고리의 다른 글
| 하이패스 카드 이해하기: 사용 방법, 종류, 장단점 및 구매 가이드 (0) | 2024.04.10 |
|---|---|
| 불법주차 신고와 포상금: 공동체의 안전과 편의를 위한 적극적인 참여 (0) | 2024.04.10 |
| 농작물 재해보험 손해평가사로 새로운 경력을 시작하자 (0) | 2024.04.10 |
| 티빙 요금제와 유플러스 멤버십을 활용한 OTT 비용 절약 방법 (0) | 2024.04.09 |
| 비례대표제의 이해와 중요성 (0) | 2024.04.06 |
